Антенный усилитель SWA-555 LUX (МВ, ДМВ) производства KNN

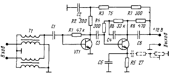
Усилитель SWA-555, принципиальная схема которого изображена на рис. 1, представляет собой двухкаскадный апериодический усилитель ВЧ на биполярных микротранзисторах Т67 (BFG-67) или BFR-91A. Первый каскад — широкополосный, без коррекции. Во втором каскаде имеется коррекция: конденсатор С5 в цепи токовой ООС транзистора VT2 обеспечивает спад АЧХ на нижних частотах рабочего диапазона, а конденсатор С4 в цепи ООС по напряжению ограничивает усиление на верхних частотах и за пределами рабочей полосы. АЧХ усилителя показана на рис. 2. В целом схемы усилителей SWA-555 и SWA-9 практически полностью совпадают (у первого лишь отсутствует LC-фильтр в цепи питания и изменены некоторые номиналы пассивных элементов). Поэтому и АЧХ усилителей близки. Однако при использовании в первом каскаде малошумящего транзистора BFR-91A (Кш =1,6 дБ) усилитель SWA-555 имеет меньший коэффициент шума.

Рис.1. Принципиальная схема усилителя SWA-555

Рис.2. АЧХ усилителя SWA-555
Характеристики:
f, МГц – 48,5...854
Ку, дБ – 34
Кш, дБ –1,9


Еще одна схема SWA-555
Частично использованы материалы из интернета...
Михаил Дмитриенко, Алма-Ата, 2010 г. |